-
Stół spawalniczy z hydrauliczną regulacją wysokości
21 lutego 2023Z naszym stołem spawalniczym dowolnie wyregulujesz wysokość powierzchni roboczej. Wszystko dzięki zastosowaniu siłownika hydraulicznego, wysokowydajnej pompy ręcznej i zaworu zwrotnego. ZMIEŃ POZYCJĘ, KIEDY CHCESZ!
-
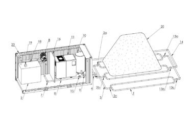
POWER STATION
23 lutego 2023Automatyczna stacja zasilania awaryjnego Jeżeli obawiasz się przerw w dostawach energii i chcesz uniknąć związanych z tym kłopotów, Power Station to doskonały wybór dla Ciebie z nim zasilisz wszystkie niezbędne …
-
-
LOADBOX
Najważniejszą cechą wyróżniającą obciążnik LOADBOX jest jego konstrukcja, którą cechuje wewnętrzna pusta komora zamykana pokrywą za pomocą siłownika hydraulicznego.
-
WATERSAVE
26 lutego 2023To urządzenie do sterowania przepływem wody, zwłaszcza w baterii wodociągowych, do których dostarczana jest ciepła i zimna woda. Jego celem jest zmniejszanie zużycia gorącej wody oraz poprawa komfortu pracy przy …
-
DRIVEZNAK
25 lutego 2023Zestaw transportowy i składane słupki do znaków to innowacyjne rozwiązanie, które w znaczący sposób zmienia pracę podczas oznakowania miejsca robót drogowych.
-
Sprzęgło dynamometryczne
22 lutego 2023Prezentowane sprzęgło dynamometryczne ma zastosowanie w wielu gałęziach przemysłu.
-
-
Mocowanie koła zębatego na wale
22 lutego 2023Innowacyjny sposób mocowania kół zębatych na wale za pomocą pierścienia rozprężno – zaciskowego.
-
